Los actuales motores diésel y gasolina tienen los días contados. Casi todas las marcas los van a licenciar de sus catálogos en los próximos años debido a la necesidad de electrificar el mercado. Pero no todos los fabricantes de automóviles han elegido el mismo camino: Ford acaba de presentar una patente para desarrollar un motor térmico alimentado por hidrógeno.
Actualmente, en los vehículos movidos por hidrógeno este se utiliza para generar electricidad que se almacena en las baterías y estas alimentan los motores eléctricos del vehículo. Son los conocidos como motores de pila de combustible y que se encargan de transformar de forma directa la energía química en eléctrica.
Más información
Volviendo a Ford, hace unas semanas la compañía anunció la división de su negocio en dos áreas independientes: Model E para los vehículos eléctricos y Blue para los térmicos. Esta patente sale de esta última división y demuestra que la firma del óvalo no da por enterrados los motores tradicionales.
El hidrógeno como combustible
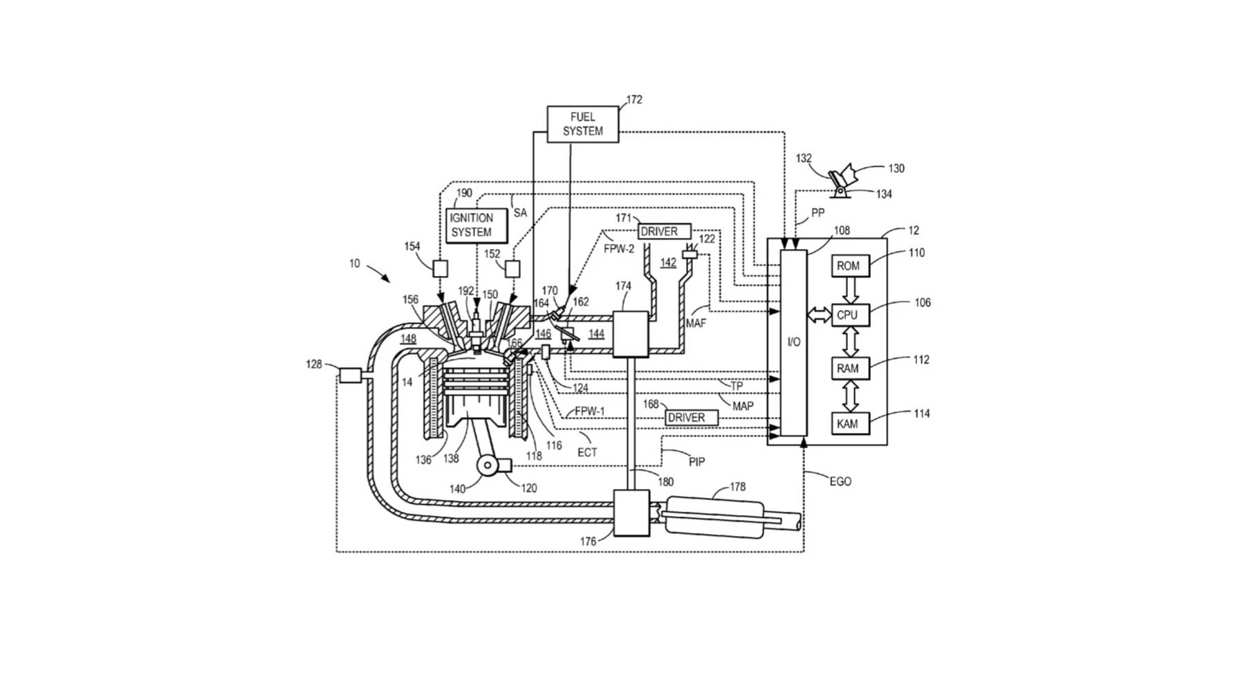
La Oficina de Marcas y Patentes de los Estados Unidos ha registrado una patente para un motor de combustión interna alimentado por hidrógeno. En ella se puede observar la manera en la que se va a controlar la relación aire-combustible, uno de los parámetros más importantes en un motor térmico, que es capaz de producir una mezcla de hasta 68 partes de aire por 1 parte de hidrógeno.

Otros aspectos que deja entrever son el sistema para la sincronización de las válvulas, la recirculación de gases de escape o el sistema que inyección directa que se va a encargar de suministrar el hidrógeno a los cilindros. Un mecanismo que podría inyectar hasta un 15 % más de potencia que lo de los motores actuales de gasolina.
Además, también se muestra su posible uso para un tren motriz, híbrido, con un motor-generador colocado entre el mismo propulsor y el sistema de transmisión.
Sigue toda la información de EL MOTOR desde Facebook, X o Instagram
Alpine diseña un deportivo de hidrógeno inspirado en la Fórmula 1
Coches de hidrógeno: cómo lograr que sean más baratos y numerosos