La industria del motociclismo se prepara para un hito sin precedentes. CFMoto, la marca china conocida por su innovación constante, está a punto de lanzar al mercado la 750SR, una motocicleta que redefine los estándares de seguridad. Lo que hace única a esta hiperdeportiva es la incorporación de un cinturón de seguridad, un elemento revolucionario diseñado para proteger al conductor en caso de colisión frontal.
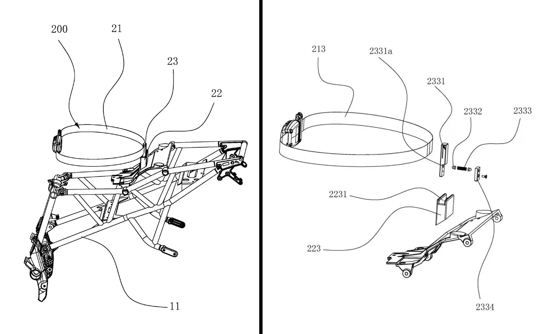
La idea, que inicialmente puede parecer descabellada, tiene una base sólida. La patente de CFMoto detalla un sistema de retención que evita que el piloto salga despedido hacia delante en un impacto, reduciendo drásticamente el riesgo de lesiones graves. A diferencia de lo que se podría pensar, el cinturón no limita la libertad de movimiento del conductor. Su diseño permite la liberación rápida en caso de caídas laterales, evitando que el piloto quede atrapado debajo de la moto.
Más información
No es la primera
El sistema, que emerge de la parte inferior del asiento del pasajero, se ancla a un pivote transversal, actuando como un retenedor eficaz en choques frontales. Este mecanismo, similar al de los cinturones de seguridad de los automóviles, ofrece una protección crucial sin sacrificar la agilidad necesaria en la conducción de una moto deportiva. La pionera en este campo fue la BMW C1, lanzada en 2000. Se trató de la primera motocicleta de producción en incorporar un cinturón de seguridad, que suprimía la necesidad de llevar el preceptivo casco.
Este escúter revolucionario presentaba una estructura de seguridad similar a la de un automóvil, con una jaula antivuelco y un cinturón de seguridad de cuatro puntos. Diseñada para ofrecer la protección de un coche y la agilidad de una moto, la C1 buscaba atraer a quienes se sentían inseguros en las motos tradicionales. A pesar de su innovación, la BMW C1 no logró el éxito comercial esperado y su producción cesó en 2003.

¿Un nuevo estándar?
La CFMoto 750SR no solo destaca por su innovador sistema de seguridad. También promete un rendimiento excepcional, con un motor de 4 cilindros que entrega 111,7 CV de potencia, va a garantizar una experiencia de conducción emocionante. La combinación de seguridad y rendimiento convierte a esta moto en una propuesta única en el mercado.
Aunque aún no se ha confirmado la fecha de lanzamiento en Europa, la expectación es máxima. La pregunta que muchos se hacen es si este sistema de seguridad marcará el inicio de una nueva era en el diseño de motocicletas. Solo el tiempo dirá si el cinturón de seguridad en motos se convierte en un estándar, pero lo que es seguro es que CFMoto ha dado un paso audaz hacia un futuro más seguro en el mundo de las motocicletas.

Sigue toda la información de EL MOTOR desde Facebook, X o Instagram
CFMoto: la marca de motos china que quiere arrasar en casi todos los segmentos
Aparcó su moto y cuando volvió se encontró una venganza que jamás olvidará: ¿quién tiene la razón?